Istorie

1620 Rigla de calcul a fost inventată de Edmund Gunter.

1642 Primul dispozitiv de calcul mecanic a fost proiectat de Blaise Pascal.

1725 Banda de hârtie perforată a fost inventată de Basile Bouchon, lucrător în domeniul textil, în Lyon.

1745 Butelia Leyda, primul condensator electric realizat de fizicianul Pieter van Musschenbroek.

1799 Pila electrică, prima baterie inventată de Alessandro Volta.

1801 Cartele perforate inventate de Joseph Marie Charles Jacquard, în domeniul textil, Franța.

1825 Primul electromagnet realizat de Fizicianul William Sturgeon.

1834 Primul calculator controlat de instrucțiuni introduse de utilizator, proiectat de Charles Babbage.

1838 Telegraful și codul Morse inventat şi realizat de Samuel Morse.

1854 Un concept nou, al logicii cu două valori introdus de matematicianul George Boole.

1861 Ecuațiile lui Maxwell, legile de bază ale electromagneticii enunţate de James Clerk Maxwell.

1876 Primul telefon realizat de Alexander Graham Bell.

1886 Existența undelor electromagnetice demonstrată de fizicianul Heinrich Hertz.

1890 Mașină electromecanică de tabulat cu datele stocate pe cartele perforate realizată de Herman Hollerith, cel ce a pus bazele companiei IBM.

1897 Existența electronului descoperită de fizicianul J.J.Thomson, la Laboratorul Cavendish, de la Universitatea Cambridge.

1904 Dioda inventată de fizicianul John Ambrose Fleming.

1906 Trioda fost inventată de Lee de Forest, moment ce reprezintă începutul domeniului electronicii.

1906 Compania XEROX a fost inființată.

1911 Compania IBM a fost inființată.

1936 Principiile de bază privind funcționarea unei mașini de calcul programabile sunt stabilite de Alan Turing.

1937 Legătura între algebra propusă de Boole și dispozitivele electromecanice folosite în practică făcută de Claude Shannon.

1937 Calculatorul „Harvard Mark I”, produs de IBM ASCC „Automatic Sequence Controlled Calculator” pe baza unui proiect elaborat de Howard Aiken.

1938 Z1, primul calculator binar electromecanic, inventat Konrad Zuse.

1939 Compania Hewlwtt-Packard a fost înființată.

1940 Arhitectura von Neumann creată de John von Neumann.

1940 Primul calculator utilizat de la distanță (CNC), prin intermediul unei linii telefonice între Dartmouth și Bell Labs din New York

1941 Z3, primul calculator digital de uz general, inventat de Konrad Zuse.

1942 Sistemul ABC (Atanasoff-Berry Computer) creat de John Vincet Atanasoff, împreună cu Cliff Berry, de la Universitatea IOWA.

1942 Primul telefon portabil realizat Donald M. Mitchell.

1943 Colossus, primul calculator programabil implementat cu tuburi electronice, proiectat de Maxwell Newman.

1946 Calculatorul ENIAC (Electronic Numerical Integrator and Calculator), realizat de J. Presper Eckert si John Mauchly de la Universitatea din Pennsylvania.

1947 Tranzistorul inventat de John Bardeen, Walter Braittain și William Shockley, în laboratoarele Bell.

1949 MODEM realizat de Jack Harrington de la AFCRC.

1950 Conceptul de Imprimanta 3D introdus de Raymond F. Jones.

1951 Calculator comercial, UNIVAC (Universal Automatic Computer) realizat de J. Presper Eckert si John Mauchl.

1951 Conceptul de microprogramare introdus de Maurice Wilkes.

1955 CIFA 1, primul calculator electronic din România, Calculatorul Institutului de Fizica Atomica, realizat de Victor Toma.

1955 România a devenit a opta țară din lume producătoare de calculatoare.

1956 Calculatoarele MECAN-1 și MECAN-2 proiectate şi realizate de Vasile Mihai Popov de la Institutul de Energetică al Academiei.

1956 Conceptului de Inteligență Artificială introdus de către colegiul Dortmouth.

1957 Compania DEC - Compania Digital Equipment Corporation a fost inființată.

1957 Limbajul de programare FORTRAN (FORmula TRANslator), implementat de către John Backus, pentru IBM 704.

1958 Limbajul LISP (LISt Processing), realizat deJohn McCarthy de la MIT şi implementat pe un calculator IBM 704.

1958 EDSAC 2, primul calculator microprogramat a fost realizat.

1959 Sistemul de calcul IBM 1401, primul calculator cu tranzistoare produs în serie mare, a fost realizat.

1959 Primul circuit integrat realizat de Jack St Clair Kilby de la Texas Instruments si Robert Noyce

1959 CIFA-2- Calculatorul Institutului de Fizică Atomică a fost realizat de Victor Toma.

1959 Limbajul de programare COBOL (COmmon Business Oriented Language), realizat de Grace Murray Hopper.

1960 Întreprinderea Automatica din București, s-a înființat la București.

1960 Uzina Electronica București, s-a înființat la București.

1960 CIFA-3- Calculatorul Institutului de Fizică Atomică a fost realizat de Victor Toma.

1960 Standardul de comunicație serială RS-232 realizat de Electronic Industries Association (EIA).

1960 PLC–urile, primele automate programabilerealizate în SUA.

1961 Propunere de funcționare a rețelelor de calculatoare la nivel global făcută de Leonard Kleinrock.

1961 Compania SINCLAIR a fost înființată.

1961 Calculatorul MECIPT-1, proiectat de Iosif Kaufmann și Wiliam Lovenfeld, la Institutul Politehnic din Timișoara, primul calculator electronic din mediul universitar

1962 Conceptul de „Rețea Galactică” propus de J. C. R. Licklider de la MIT (Massachusetts Institute of Technology).

1962 Telstar, primul satelit de comunicație

1962 Întreprinderea Electromagnetica, s-a înființat la București.

1962 Întreprinderea Automatica, s-a înființat la București.

1963 Calculatorul MECIPT-2 a fost realizat sub indrumarea lui Vasile Baltac, la Institutul Politehnic din Timișoara

1963 DACICC-1, primul calculator din Romania cu tranzistoare a fost proiectat și realizat de către Manfred Rosmann, Gheorghe Farkas la Institutul de Calcul Cluj (filiala din Cluj-Napoca a Academiei Române)

1964 CET 500, primul calculator complet tranzistorizat din Romania, realizat de Victor Toma, la Institutul de Fizică Atomică.

1964 INTELSAT, consorțiul internaţional de telecomunicații prin satelit s-a înfiinţat.

1964 Limbajul BASIC (Beginner’s All-Purpose Symbolic Instruction Code), realizat de John Kemeny şi Thomas Kurtz de la Universitatea Dartmouth .

1964 Conceptul de comutare de pachete pentru rețele de calculatoare a fost introdus de Paul Baran, Donald Davies.

1965 Calculatorul MECIPT-3, a fost realizat la Institutul Politehnic din Timișoara.

1965 Calculatorul MAC1 (MAȘINĂ ANALOGICĂ DE CALCUL 1), realizată de Adrian Petrescu, Petre Dimo și Ivan Sipoș , la Institutul Politehnic București.

1965 Early Bird, satelitul geostaționar a fost lansat.

1966 Compania CII - Compagnie Internationale pour l'Informatique a fost inființată.

1966 Proiectul rețelei ARPANET a demarat , având ca șef de proiect pe Larry Roberts.

1966 Calculatorul CET 501, a fost produs la Institutul de Fizică Atomică

1967 Institutul (ICPUEC), transformat în Institutul de Technică de Calcul (ITC), s-a înființat la București

1967 I .E.A. (Întreprinderea de Elemente de Automatizări), s-a înființat la București

1968 Întreprinderea pentru Întreținerea și Repararea Utilajelor de Calcul (IIRUC) s-a înființat.

1968 Calculatorul DACICC 200, complet tranzistorizat, a fost proiectat și realizat de Mircea Bocu și Gheorghe Farkaș, la Cluj Napoca

1968 Compania INTEL, cea mai mare producătoare de circuite integrate, a fost fondată de Robert Noyce și Gordon Moore.

1968 Limbajul Prolog (Programming in Logic), a fost creat de Alain Colmerauer de la Universitatea din Marsilia, Franța.

1969 Limbajul C a fost creat de Dennis Ritchie.

1970 Întreprinderea de Calculatoare Electronice Felix (ICE Felix), s-a înființat la București.

1970 I.E.M.I. (Întreprinderea de Aparate Electronice de Măsură şi Industriale) s-a înființat.

1970 Intreprinderea de Cinescoape, s-a înființat la București.

1970 Institutul Central de Informatică (ICI), s-a înființat la București.

1970 Licența de fabricație în România a calculatorului IRIS 50 s-a cumpărat din Franţa. Calculatorul fabricat în Romania, după această licență, s-a numit FELIX C-256.

1970 DRAM DYNAMIC ACCESS MEMORY, primul cip de memorie dinamică inventat de INTEL.

1970 Limbajul de programare PASCAL dezvoltat de Niklaus Wirth.

1970 Sistemul de operare UNIX dezvoltat de AT&T si Bell Labs.

1971 Fabrica de Memorii electronice și Componente pentru Tehnică de Calcul (FMECTC), s-a înfiinţat la Timișoara.

1971 Floppy disk-ul de 8 inch inventat de Alan Shugart, inginer la IBM .

1971 Primul e-mail transmis de Ray Tomlinson.

1971 Intel 4004, pe 4 biti, primul microprocessor, realizat de INTEL.

1972 Conect, Fabrica de conectoare și elemente de comutare, s-a înființat la București.

1972 Întreprinderea de Piese Electronice și Electrotehnice s-a înființat la Curtea de Argeș.

1972 Calculatorul CETA, realizat cu circuite logice concepute sub formă modulară, la catedra de Calculatoare din Institutul Politehnic din Timișoara, colectiv condus de Alexandru Rogojan .

1972 Microprocesorul Intel 8008 s-a proiectat si realizat.

1973 Societatea mixtă RomControlData (RCD), s-a înființat la București.

1973 Sistem IBM1401 primit de Universitatea Politehnica din București, în cadrul unui proiect PNUD.

1973 Microcalculatorul MC1, primul calculator microprogramat, proiectat și realizat de Adrian Petrescu, Nicolae Țăpuș, Trandafir Moisa, la IPB.

1973 Telefonul Motorola Dyna TAC realizat și testat de Martin Cooper de la Motorola.

1973 Ethernet a fost proiectat de Robert Medcalfe, de la XEROX.

1974 Microprocesorul Intel 8080 s-a proiectat și realizat.

1974 Dischetele de 5 ¼ inch, capacitate de 360 KB, s-au realizat.

1974 Protocolul de reţea TCP / IP a fost implementat de Vinton Cerf și Robert Kahn.

1974 Biblioteca Națională de Programe s-a înființat la ICI.

1974 MC3, primul microcalculator cu microprocesorul Intel 8008 din România, realizat de Adrian Petrescu, Nicolae Țăpuș, Trandafir Moisa.

1975 Întreprinderea de echipamente periferice (FEPER), s-a înființat la București.

1975 Microcalculatorul FELIX MC-8, primul microcalculator cu microprocesor 8008, proiectat la IPB și realizat, produs pe scara industrială la ICE.

1975 ECAROM 800, microcalculator destinat conducerii proceselor industriale, conceput la IPA, intrat în fabricatie la Întreprinderea pentru Elemente de Automatizare

1975 Compania Microsoft a fost înființată, Albuquerque, New Mexico, Statele Unite, de Paul Allen si Bill Gates. Bill Gates a fost primul CEO.

1976 Compania Apple, a fost înființată, Cupertino, California, Statele Unite de Steve Jobs împreună cu Steve Wozniak si Ronald Wayne.

1976 Calculatoarele FELIX C-512, s-au realizat la ICE.

1976 Familia de microcalculatoare FELIX M18 (microcalculatoarele M18, M18B, M118GS) proiectate de Adrian Petrescu, Nicolae Țăpuș, Trandafir Moisa şi realizată producția de serie la ICE FELIX.

1977 Familia de minicalculatoare I100 a fost proiectată la ITC Bucuresti și fabricată la Intreprinderea de Calculatoare Electronice Felix.

1977 Microcalculatorul SPOT, destinat supravegherii si conducerii proceselor, realizat de Mircea Brozici, Gheorghe Marin, Dacian Nițulescu, la ICE FELIX.

1978 S-a înființat Intreprinderea de Electronică Industrială, la Cluj-Napoca

1978 Calculatoarul FELIX C-1024 s-a realizat la ICE.

1978 Microprocesorul 8086 a fost dezvoltat de firma INTEL.

1979 Centrul de Pregătire și Perfecționare în Informatică, s-a înființat la ICI.

1979 Sistemul de operare AMS si sistemul de operare MINOS, s-a elaborat pentru sistemele INDEPENDENT, de un colectiv de la ITC Bucuresti.

1980 Sistemul INDEPENDENT 102F a fost fabricat la Intreprinderea de Calculatoare Electronice Felix.

1980 Familia de minicalculatoare CORAL 4011, CORAL 4021, CORAL 4030, proiectată de Dan Tonceanu de la Institutul Politehnic București ce a intrat în producție de serie la ICE FELIX Bucuresti.

1980 Limbajul C++ a fost creat de Bjarne Stroustrup.

1981 Diagram, microcalculator grafic interactiv, proiectat de Gheorghe Ștefan de la Institutul Politehnic București.

1981 Modelul IBM PC, bazat pe microprocesorul Intel 8088, primul calculator personal, lansat de firma IBM.

1981 DOS (Disk Operating System), sistem creat de Microsoft pentru calculatoarele personale IBM.

1982 Întreprinderea Microelectronica, s-a înființat la București.

1982 Microcalculatorul M216, prima arhitectură dual procesor din România, proiectată de Adrian Petrescu, Nicolae Țăpuș, Trandafir Moisa, Irina Athanasiu.

1982 INTERNET devine termen consacrat.

1983 Rețeaua Bitnet creată de IBM, în SUA, pentru universități și centre de cercetare.

1983 CD-ROM-ul a fost inventat de firma Philips.

1983 Minicalculatorul INDEPENDENT I106 a fost fabricat la Intreprinderea de Calculatoare Electronice Felix.

1983 Editorul de texte Word dezvoltat de Microsoft.

1983 Dischetele de 3,5 inch (3 ½ inch, capacitate de (la început 720KB) 1,44MB

1984 Calculator personal FELIX PC, proiectat de Adrian Petrescu, Nicolae Țăpuș, Trandafir Moisa şi produs la Intreprinderea de Calculatoare Electronice Felix sub coordonarea Florea Tănase, Traian Mihu, Tudorel Domocoș, Sandu Anghel, Gabriel Drăghicescu, Laurențiu Oftez, Constantin Alupului, Victor Cososchi.

1984 Sistemul DIALISP, o masină care executa programe direct în limbajul de nivel înalt LISP, proiectat de Gheorghe Ștefan.

1984 Microcalculatorul aMIC a făcut parte din categoria calculatoarelor personale-individuale, a fost proiectat la Catedra de Calculatoare din Institutul Politehnic din Bucuresti.

1984 Imprimanta 3D, proiectată şi realizată de Bill Masters.

1985 Microcalculatorul personal HC-85, proiectat de Adrian Petrescu și Francisc Iacob, de la Institutul Politehnic din Bucuresti.

1985 Microcalculatorul PRAE, proiectat de Miklós Patrubány, Nicolae Pop Baldi și Ioan Ciascai de la Institutul de Tehnica de Calcul din Cluj-Napoca.

1985 Rețeaua EARN (European Academic and Research Network), creată de IBM pentru universități și centre de cercetare.

1985 Sistemul de operare Windows realizat de Microsoft.

1986 Microcalculatorul TIM-S, proiectat de Crişan Strugaru, Dumitru Pănescu, Mircea Popa, Cezar Morun de la Institutul Politehnic din Timișoara.

1987 Circuitul integrat de memorie „split gate flash memory”, proiectat de profesorul George Samachișă.

1988 Microcalculatorul CoBra, proiectat de Gheorghe Toacșe, produs la ITC Brașov.

1989 Calculatorul personal HC 88 a fost proiectat de catre un colectiv condus de Traian Mihu, de la ICE Felix .

1989 Limbajul Python, limbaj de programare dinamic multi-paradigma, creat de Guido van Rossum.

1989 Sistemul de operare Mac OS X este un sistem de operare dezvoltat de Apple, bazat pe Unix, pe calculatoarele de tip Macintosh.

1989 Setul de programe Microsoft Office lansat de Compania Microsoft.

1990 IMSAT Întreprinderea – antrepriză de montaj și service pentru automatizări și telecomunicații, s-a înființat la București

1990 WWW (World Wide Web) inventat de Tim Berners-Lee de la CERN (European Organization for Nuclear Research), Laboratorul European pentru Fizica particulelor din Geneva.

1991 Calculatoarele personale HC 90 si HC 91 au fost produse la Intreprinderea de Calculatoare Electronice Felix. .

1992 Corespondența prin e-mail la Casa Albă introdusă de Președintele USA, George Bush.

1992 Sistemul de operare Windows 3.1 realizat de Microsoft.

1993 PENTIUM, microprocesor compatibil x86, pentru IBM PC, lansat de Firma Intel.

1994 Limbajul PHP (Hypertext Preprocessor), creat de Rasmus Lerdorf.

1994 Primul WEB site pentru Casa Albă, SUA, dezvoltat de Administrația Clinton.

1994 Sistemul de operare Linux, realizat de Linus Torvalds.

1994 Platforma Yahoo, realizată de David Filo și Jerry Yang.

1994 Conceptul de prelucrare paralelă de tip cluster a fost introdus de universitatea Caltech, SUA

1995 Limbajul JAVA, un limbaj orientat-obiect, creat de James Gosling de la Sun Microsystems.

1995 Sistemul de operare Windows 95 a fost introdus de Microsoft.

1995 Internet Explorer lansat de Compania Microsoft.

1995 Limbajul Ruby creat de Yukihiro „Matz” Matsumoto.

1996 USB (Universal Serial Bus) a fost creat.

1997 RoEduNet, rețeaua națională de cercetare și educație a României

1997 Consacrare denumire smartphone, când s-a lansat un model de telefon Ericsson GS88.

1998 Compania Google a fost înfiinţată de Larry Page si Sergey Brin, în Menlo Park, California, Statele Unite.

2001 Firma BitDefender a fost înfiinţată de Florin si Măriuca Talpeș.

2001 Sistemul de operare Windows XP.

2001 Conectarea RoEduNet la reţeaua GÉANT.

2001 Site-ul Wikipedia este lansat de Jimmy Wales și Larry Sanger.

2003 Microprocesorul AMD64 este dezvoltat de Firma AMD.

2003 Platforma Skype este lansată.

2003 Wikipedia în limba română.

2004 Browser-ul Mozilla Firefox, un navigator web dezvoltat de Mozilla Foundation, este lansat.

2004 Rețeaua de socializare Facebook este creată de Mark Zuckerberg.

2005 YouTube, o platformă pentru video, este înfiinţată de Chad Hurley, Steve Chen și Jawed Karim.

2005 Sistemul Android este dezvoltat de Andy Rubin, Rich Miner, Nick Sears și Jawed Karim.

2006 Sistemul MonaLisa (MONitoring Agents using a Large Integrated Services Architecture) dezvoltat de de către CERN, Caltech și UPB.

2006 Twitter este înfiinţată de Jack Dorsey.

2007 Primul iPhone lansat de Apple.

2007 Serviciul de vizualizare la nivel de stradă lansat de Google.

2008 Sistemul de operare Chrome OS.

2009 Sistemul de operare Windows 7.

2010 Rețeaua de socializare Instagram este lansată.

2010 iPad lansat de Apple.

2014 Sistemul de operare Windows 10.

2015 Apple Watch a fost realizat.

2016 România era pe locul 1 în Europa al vitezei de vârf pe INTERNET

2019 USB 4, ce suportă un debit de 40 Gbit/s, a fost lansat.

2021 Romania este pe locul 3 in lume in ceea ce privește viteza de transfer pe INTENET, 193.43 Mbps

Events

Museum


Prezentarea video a muzeului


Expozitia aniversara


Locatie


Hol Precis
Sala Precis 101, etaj 1

Microcalculatorul MC3 (1974-1975)

Primul microcalculator din țară bazat pe microprocesorul Intel 8008.

Modelul de laborator, microcalculatorul MC3, a fost proiectat și implementat de prof. Adrian Petrescu, Nicolae Țăpuș, Trandafir Moisa, de la catedra de Calculatoare, Institutul Politehnic din București. Prototipul a fost preluat de Intreprinderea de Calculatoare Electronice și introdus în producția de serie ca microcalculator FELIX MC-8.

Microcalculatorul M18
Microcalculatorul M18
Microcalculatorul MC3
(De la stanga la dreapta) Adrian Petrescu, Nicolae Țăpuș si Trandafir Moisa
Echipa IPB care a realizat microcalculatorul MC3

FELIX MC8 (1974-1975)

Microcalculatorul FELIX MC8 a reprezentat primul microcalculator cu microprocesor 8008, proiectat și realizat, pe scara industrială, în țara noastră.

În acea perioadă, marile companii producătoare de circuite integrate nu inventaseră încă memoriile PROM / EPROM. Cum singurul echipament de intrare era cititorul de bandă perforată și neexistând posibilitatea de execuție a unor programe de boot sau de tip monitor, pentru încărcarea unui program, care era stocat pe banda perforată, de la panoul frontal trebuia introdus manual, instrucțiune cu instrucțiune, un încărcător minimal care să asigure citirea informației de la cititorul de bandă perforată. Pentru a permite introducerea unor programe de mici dimensiuni (ex. bootstrap-ul) și a unor programe de test, panoul frontal conținea comutatoare pentru introducere date și led-uri pentru afișare date din memoria de lucru. De la aceste comutatoare se puteau executa instrucțiuni mașină în binar, pas cu pas.

Microcalculatorul MC8
Microcalculatorul MC8
Microcalculatorul MC8
Interiorul microcalculatorului MC8

Având în vedere gradul de noutate al acestei realizări, Academia Romană a atribuit Premiul „Traian Vuia”, colectivului de autori: Adrian Petrescu, Trandafir Moisa și Nicolae Țăpuș.

(De la stanga la dreapta) Adrian Petrescu, Nicolae Țăpuș si Trandafir Moisa
Echipa IPB care a realizat microcalculatorul MC8

Din echipa care a realizat implementarea industrială (1975- 1981), într-o concepție unitară, au facut parte: Constantin Botez, Laurențiu Oftez, Constantin Alupului, Gabriel Drăghicescu, Victor Cososchi, Traian Mihu s.a.

(De la stanga la dreapta, sus-jos) Traian Mihu, Andrei Gayraud, Constantin Botez, Laurentiu Oftez, Constantin Alupului, Gabi Draghicescu
Echipa ICE care a realizat implementarea industriala a modelului MC8

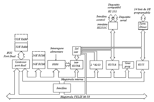
FELIX M18 (1974)

La proiectare și implementare s-a avut în vedere compatibilitatea atât hardware cât și software cu sistemele care au fost lansate pe plan mondial, în acea perioadă. Această compatibiltate a permis ca, aplicații dezvoltate pe sistemele proiectate în România, să poată fi executate pe alte sisteme produse în străinătate și invers.

Varianta inițială FELIX M18 conținea unitate centrală de prelucrare bazată pe microprocesorul Intel 8080, memorie EPROM și RAM, module de interfață cu echipamentele de I/E. Echipamentele de intrare/ieșire au fost: consola (TTY-teletype) sau display-ul cu tub catodic, cititorul/perforatorul de bandă perforată , cititorul de cartele perforate, unitatea de bandă magnetică și unitațile de casetă magnetică, imprimanta.

Datorită faptului că nu exista un coprocessor matematic și că operațiile în virgulă mobilă erau implementate prin software, s-a proiectat și realizat un modul hardware specializat capabil să implementeze cele 4 operații aritmetice elementare cu numere reprezentate în virgulă mobilă respectând standardul IEEE-754. Modulul în virgulă mobilă hardware a făcut ca viteza de execuție a programelor scrise în limbajul FORTRAN să crească de până la 4 ori, față implementarea prin software a operațiilor în virgulă mobilă.

Microcalculatorul M18
Microcalculatorul FELIX M18
Microcalculatorul M18
Echipa IPB care a conceput varianta M18b
Varianta M18b
Varianta M18b

FELIX M118 (1974)

Datorită performanțelor sale, sistemul de tip desktop FELIX M118GS- Graphic System a fost distins cu Medalia de aur la Expoziția de la Leipzig.

Sistemele M18, M118 au fost exportate în număr mare în țări ca: China, RDG și Franța. Pe baza sistemului FELIX M18B, prin adăugarea unui multiplexor cu 60 de canale pentru liniile de comunicație serială, s-a realizat Concentratorul de Date CD80. Sistemele de calcul din seria M18, M118, M118GS și concentratoarele de date CD80 au avut un impact cu totul deosebit asupra dezvoltării informaticii în România. Aceste sisteme fiind ușor accesibile, atât financiar cât și de operat, au permis o dotare în număr mare, au mărit sfera de utilizatori din diverse domenii și au pus baza teleprelucrării datelor la nivelul centrelor de calcul teritoriale.

Microcalculatorul M118
Microcalculatorul FELIX M118
Varianta M118gs
Varianta M118GS

FELIX M-216 (1982)

M216 a fost prima arhitectură dual procesor funcțională, proiectată în România.

Cu experiența obținută cu sistemele FELIX M18/ M118 și odată cu apariția microprocesorului Intel 8086 pe 16 biți, în anul 1982, prof. Adrian Petrescu, Nicolae Țăpuș, Trandafir Moisa, Irina Athanasiu, de la Catedra de Calculatoare, din Institutul Politehnic Bucuresti, au realizat microcalculatorul M216.

Acest microcalculator avea două procesoare: un procesor 8080 și unul 8086. A fost un sistem multiprocessor care a asigurat trecerea lină, cu păstrarea multor componente hardware, de la microcalculatoarele pe 8 biți, la microcalculatoarele pe 16 biți. Soluția aleasă a constat în proiectarea și realizarea unui sistem format dintr- un microcalculator pe o plachetă, bazat pe microprocesorul Intel 8086 (SBC - Single Board Computer), cuplat pe magistrala sistemului M18.

Diagrama microcalculatorului Felix-M216
Diagrama microcalculatorului FELIX-M216
(De la stanga la dreapta) Adrian Petrescu, Nicolae Tapus, Trandafir Moisa, Irina Athanasiu
Echipa IPB care a dezvoltat microcalculatorul FELIX-M216

FELIX-PC (1984)

Primul calculator personal produs in Romania

Pe baza unui proiect dezvoltat la Catedra de Calculatoare din Institutul Politehnic București, condus de prof. Adrian Petrescu, la care au lucrat Nicolae Țăpuș, Trandafir Moisa, Irina Athanasiu, s-a realizat primul calculator personal FELIX PC. La proiectarea sistemului s-a avut în vedere păstrarea compatibilității software cu sistemul IBM-PC, primul calculator personal profesional, care a fost lansat în anul 1981.

Microcalculatorul Felix-PC a păstrat compatibilitatea software cu IBM PC, dar a fost proiectat astfel încât să lucreze atât cu microprocesorul 8086 pe 16 biți cât și cu microprocesorul 8088, în timp ce IBM-ul lucra numai cu procesorul 8088 pe 8 biți. Sistemul FELIX-PC avea o dublă compatibilitate, putând fi configurat să lucreze cu procesorul 8086, care avea interfața cu exteriorul pe 16 biți sau cu microprocesorul 8088, care lucra cu resursele externe lui pe 8 biți. Placa de bază conținea următoarele resurse: unitatea centrală de prelucrare bazată pe microprocesoarele 8086 / 8088, coprocesorul matematic 8087, memoria RAM dinamică de 256 KB, memoria permanentă EPROM de maxim 64 KB, ceasul de timp real, sistemul de întreruperi cu implementare vectorială cu 8 niveluri de priorități, modulul DMA de acces direct la memorie, interfețele pentru tastatură, pentru comunicație serială asincronă compatibilă standardului RS 232, pentru caseta magnetică audio și cuplorul de discuri flexibile de 5¼ sau 8 inchi.

Calculatorul personal Felix-PC
Calculatorul personal FELIX-PC
(De la stanga la dreapta) Adrian Petrescu, Nicolae Tapus, Trandafir Moisa, Irina Athanasiu
Echipa IPB care a dezvoltat calculatorul personal FELIX-PC

aMIC (1983-1984)

Calculatorul personal aMIC a fost proiectat și realizat la catedra de Calculatoare, din Institutul Politehnic București de către prof. Adrian Petrescu și Francisc Iacob, ca model de laborator. În perioada 1983-1984, a fost produs în serie la Fabrica de Memorii din Timișoara.

Microcalculatorul aMIC a fost utilizat în special de către elevi, având aplicații diverse și un cost relativ scăzut. Unitatea centrală de prelucrare a fost implementată cu microprocesorul Z80, la o frecvență de 2, 5 MHz. Memoria RAM, conținea programele de aplicații care se încărcau de pe suport extern, era construită cu circuite de memorie dinamică și avea o capacitate maximă de 48 KB. Avea o interfață paralelă programabilă folosită pentru cuplarea tastaturii, difuzorului și a casetofonului audio și o interfață serială compatibilă cu standardul RS 232, folosită pentru conectarea unor echipamente seriale. Monitorul, asamblorul, editorul de texte și interpretorul limbajului BASIC erau conținute în memoria permanentă EPROM cu o capacitate de 16 KB. Pentru afișare se utiliza un televizor, conectat prin intermediul cuplorului TV care genera semnalul video complex. Capacitatea memoriei de vizualizare pe ecran era de 8 KB și era inclusă în memoria RAM a sistemului. Stocarea programelor se făcea pe un casetofon audio de uz general.

Calculatorul personal aMIC
Intregul sistem aMIC
Calculatorul personal aMIC
Calculatorul personal aMIC
(De la stanga la dreapta) Adrian Petrescu, Francisc Iacob
Echipa IPB care a dezvoltat calculatorul personal aMIC

HC-85 (1985)

Microcalculatorul HC-85 a fost un microcalculator personal. Microcalculatorul HC-85 a fost proiectat de prof. Adrian Petrescu și Francisc Iacob de la Catedra de Calculatoare din Institutul Politehnic din București.

Performanțele sale, compatibilitatea software cu familia SINCLAIR, costul redus, portabilitatea, disponibilitatea unui software de sistem și de aplicații orientat către utilizator, i-a dat o utilizare de larg interes, atât în învățământ cât și pentru utilizare acasă de către elevi, și persoane care doreau să se familiarizeze cu tehnica de calcul. În configurația completă HC-85 conținea: unitate centrală de prelucrare, construită cu microprocesorul Z80, memoria permanentă EPROM de 16 KB și memoria principală RAM de 48 KB, tastatură cu 40 de taste, cu semnificații alfanumerice, de control și funcționale. Afișarea se făcea pe televizor alb/negru sau color (PAL), monitor color RGB, iar stocarea programelor și datelor se făcea pe casetofon audio. Prin interfațarea unei unități duale de disc flexibil de 5 1/4” performanțele și disponibilitatea sistemului au crescut foarte mult. Includerea unei interfețe seriale standard și conectarea într-o rețea de calculatoare personale HC-85, a până la 64 de sisteme, i-a mărit mult plaja de aplicabilitate. Interfața serială era folosită pentru comunicații seriale, pentru cuplarea serială cu echipamente care dispun de interfață serială și pentru cuplarea unei imprimante la HC-85.

Microcalculatorul HC-85
Microcalculatorul HC-85
Microcalculatorul HC-85
(De la stanga la dreapta) Adrian Petrescu, Francisc Iacob
Echipa IPB care a dezvoltat microcalculatorul HC-85

Contact

TODO